LTD 440
Anyone on here own this bike? trying to work on one and I need some parts for it.. plus I need to know where the starter is to remove it. I have never worked,owned,or rode a bike before lol.
Probably a good way to go is, buy a owner's manual. Ebay has them pretty cheap. That thing will teach you a lot, and answer a lot of questions that you have. If you need anything, you can still let us know, though...
Follow your positive battery cable. Chase it until it ends, and what it ends at, is the starter... Post a pic, and we can help point it out to ya...
Why do you need to remove the starter? What other parts do you need?
Follow your positive battery cable. Chase it until it ends, and what it ends at, is the starter... Post a pic, and we can help point it out to ya...
Why do you need to remove the starter? What other parts do you need?
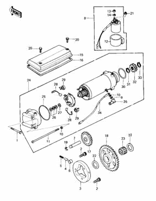
If it's like my 750 LTD, (and it probably is) the starter should be under a rectangular cover on the left side of your bike. Just look straight down from your carbs on the left side.
I think Bigrig18wheeler meant to say is buy a service manual, not an owners manual. An owners manual only shows you how to use your bike, not how to fix it.
I think Bigrig18wheeler meant to say is buy a service manual, not an owners manual. An owners manual only shows you how to use your bike, not how to fix it.
Thread
Thread Starter
Forum
Replies
Last Post
scottrisseeuw
General Motorcycle Discussion
1
Nov 21, 2008 12:02 AM



[/IMG]

